在建筑垃圾中,建筑拆迁产生的废料中除了混凝土块以外,还有砂石,木块,纸屑,塑料袋等,其中混凝土块是可以作为路基使用的;木块,纸屑以及塑料袋等轻物质也有其各自的用途,如果不加以区分的将上述废料统一处理,不仅会引起可用资源的浪费,而且会由于互相干扰而彼此影响使用质量。该设备的目的在于提供一种轻物质分离器,以除去建筑垃圾中的木块、纸屑、废塑料等轻物质。
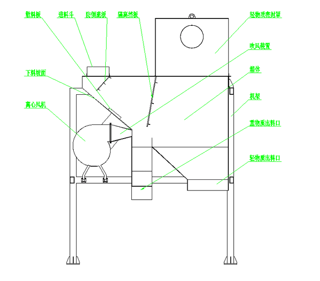
轻物质分离器包括机架,风管风选箱及离心风机,风选箱固定在机架上,风选箱具有物料进口,重物质出口和轻物质出口,另外风选箱内还设有下料坡面,下料坡面的上端位于风选箱的物料进口处,下端与重物质出口相连,下料坡面的背面连接有吹风装置,该设备在使用时,物料从进口进入风选箱,在重力的作用下,物料延下料坡面自动滑落,物料滑落到重物质出料口处时,吹风装置将建筑垃圾中的轻物质吹到轻物质腔里收集后处理,重物质则通过重物质出料口排出风选箱。


结构特点:
1.风选箱内,所设的下料坡面及坡面上所设的散料板,既减缓了物料滑落的速度又降低了料层的厚度,更有利于轻物质的充分分离。
2.风选箱内,所设下料坡面对面的防倒流板,可起到阻止被吹出的轻物质从进料斗倒流出去,还能兼具缓冲物料的作用。
3.风选箱内位于重物质出口及轻物质出口之间所设上下延伸的隔离挡板,将风选箱分割成重物质腔及轻物质腔,防止被风选出的轻物质返回与重物质混合在一起。隔离挡板上的透风窗口,正对吹风装置的吹风口,既提高了风选的效率又阻挡了轻物质向重物质腔里漂移。
4.风机设在下料坡面的背面,风机的出风口与吹风装置相连,如此近距离的设计既减少了风阻,又提高了风选效率,另外风机的进风口用风管连接在轻物质腔的顶部,如此可减小轻物质腔里的风压,利于轻物质在重力作用下下落。
适用范围及优势:
1.该轻物质分离器可用于建筑垃圾生产线中木块,纸屑以及塑料袋等轻物质的分离。
2.该轻物质分离器动力部分只有一台3kw的离心风机,运行成本低,节省用电量。
3.该轻物质分离器结构简单,重量轻,既节省制作成本又减少工人对设备的维修维护。
设备参数:
